Data Acquisition (DAQ) and Control from Microstar Laboratories

Using the MSTB 010 Termination Board with the iDSC 816

This Technical Note includes information about products that are now Obsolescent.

The Microstar Laboratories Input/Output Termination Board, part number MSTB 010-06, is a generic 64-point board for use with both the DAP 800 and the iDSC 816. As such there are a number of connection points on the board which are not used with the iDSC 816. The MSTB 010-06 provides a ground connection for each input signal, allowing easy connection to discrete devices.

All input connections are labeled with both the signal name and the pin number of the 50-pin connector on the iDSC board.

Note: The Input/Output Termination Board should not be connected or disconnected while the iDSC board is powered.

Hardware Configuration

The Input/Output Termination Board is connected to an iDSC 816 using a 50-line ribbon cable, part number MSCBL 050-01, or a 50-line round shielded cable, part number MSCBL 048-01. MSCBL 050-01 or MSCBL 048-01 connects the input/output connector of an iDSC 816 to connector J1 of the Input/Output Termination Board.

Analog Inputs

The analog inputs of the Input/Output Termination Board come configured for voltage input. The inputs can be modified for current input or for input voltages that exceed iDSC board specifications with resistor networks.

Current Input

To configure a current input, place a resistor in the location on the termination board corresponding to the input pin being modified. Figure 3 and Table 1 show resistor placement. The appropriate size for this resistor can be calculated using Ohms law, given the maximum input current and the input voltage range of the iDSC board.

Ohm's Law: Resistance = Voltage / Current

The iDSC board has an input range of +/- 5 volts. The accuracy of the measurements made in this configuration depends on the precision of the resistors used and this should be taken into consideration when selecting the resistors. Microstar Laboratories recommends using resistors with a 1% or better tolerance.

Excess power dissipated in the resistor causes heating; this changes the resistance value, decreasing the accuracy of the measurements. The recommended maximum power dissipation is 0.1 watt.

Power Calculation: Power = current2 * resistance

For current input, a current source is connected to the Sx terminal and the ground return is connected to the Gx terminal. To convert voltage input S0 into a current input that generates 1 to 5 volts with an input current of 4 to 20 milliamps, a 250 ohm resistor is inserted in the R31 location. In this case, the maximum power dissipated in the resistor is 0.1 watt at +5 volts; this is the maximum recommended power dissipation. Figure 1 illustrates the connections for this example.


Figure 1.

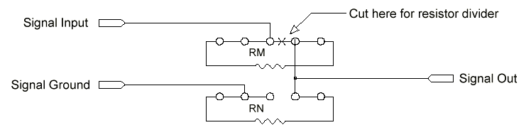
Voltage Divider

The termination board can be configured for applications requiring input voltages greater than that allowed by the iDSC board. This is accomplished by soldering a resistive voltage divider in the location provided on the termination board. Before this can be done, a trace on the termination board must be cut. Above each even numbered resistor there is a row of five small holes. Between two of the holes there is a white "X". The trace at the X must be cut.

Once this trace is cut, the resistors for the voltage divider are soldered into place. The resistor on the ground side of the divider is placed in an odd numbered resistor location and the resistor on the input signal side of the divider is placed in an even numbered resistor location. Figure 3 and Table 1 illustrate resistor placement for each input.

After both resistors are soldered into place, signals may be connected between the Sx and Gx terminals. Test the voltage divider circuit before connecting the circuit to the iDSC board.

Note: Be careful to avoid applying an input voltage that exceeds iDSC board specifications.

Warning: If the trace on the termination board is not cut, the high voltage input is connected directly to the iDSC board input; this may damage or even destroy the iDSC board.

For example, to configure input S0 so that an input range of 0 to 20 volts is scaled down to a range of 0 to 5 volts, a resistor ratio of 3:1 is needed.

Voltage Divider Equation: Vout= Vin*R1/(R1+R2)

Resistance values of 1500 and 500 ohms may be used. The trace beneath the X above R32 is cut. Then the 500 ohm resistor is placed in the R31 position and the 1500 ohm resistor is placed in the R32 position. Since 500 ohm resistors are not commonly available, a 510 ohm resistor would typically be used instead, resulting in a small error in the division ratio. This error is linear and can be corrected by multiplying by a constant in DAPL. Figure 2 illustrates the circuit for this example.


Figure 2.


Figure 3.

Note: To avoid exceeding iDSC board input voltage specifications, make sure both resistors are securely soldered in the correct locations and the trace beneath the X is completely cut before using the circuit.

Table 1.
Terminal   Current Input Resistor*   Voltage Divider Resistors

 S0, G0             R31                     R31, R32 
 S1, G1             R29                     R29, R30 
 S2, G2             R27                     R27, R28 
 S3, G3             R25                     R25, R26 
 S4, G4             R23                     R23, R24 
 S5, G5             R21                     R21, R22 
 S6, G6             R19                     R19, R20 
 S7, G7             R17                     R17, R18 
 S8, G8             R15                     R15, R16 
 S9, G9             R13                     R13, R14 
 S10, G10           R11                     R11, R12 
 S11, G11           R9                      R9, R10 
 S12, G12           R7                      R7, R8 
 S13, G13           R5                      R5, R6 
 S14, G14           R3                      R3, R4 
 S15, G15           R1                      R1, R2
*  The current input resistor is placed in the 
   RN location shown in the previous figure.
** The first resistor is on the ground side of the voltage 
   divider (RN), the second is on the input signal side (RM),
   as shown in the previous diagram. For example, 
   R31 is RN and R32 is RM. Figure 3 shows the resistor 
   placement.

Table 1 and Figure 3 can be used to locate the appropriate resistors when using either the current input or voltage division configuration. Figure 3 shows schematically how the inputs and grounds on the termination board are connected.

iDSC 816 Timing Inputs

The Input/Output Termination Board has connections to iDSC 816 clock and trigger lines. The connection labeled XC0 is the external input timer A. The external trigger input connection labeled TRI is the external timer input B.

Power Supplies

Several supply voltages from the iDSC 816 are present on the MSTB 010 Input/Output Termination Board. These supplies are intended for use by Microstar Laboratories only. Please observe the warning at the end of this section. Separate external supplies should be obtained if it is necessary to provide excitation voltages or drive currents. The information provided on the supply points is advisory in nature and is included for safety purposes only.

The iDSC board has unregulated +/-18 volt supply voltages; these are present on the Input/Output Termination Board at the points labeled +18 and -18. These voltages are referenced to the analog ground point, AG, and float with respect to the host computer's supply. The floating +5V supply is present at the termination labeled Vcc and is referenced to the point immediately adjacent to it labeled GND.

Warning: Neither the +/-18V supply nor the +5V supply is intended for customer applications; damage to the iDSC 816 could result from their use. Microstar Laboratories reserves the right to void the iDSC 816 product warranty if current is drawn from these supplies. Performance specifications of the iDSC 816 is not guaranteed if the supplies are used in any way.

Unused Termination Points

"Unused" terminations may be floating (un-connected) or driven with respect to any onboard supply. Their state should be considered to be undefined. The signal lines on the iDSC 816 which connect to these points are reserved for future use.

The following termination points on the MSTB 010 are unused:

Digital Input/Output Points labeled:
  • DI0 - DI7 plus the associated GND points
  • DO0 - DO7 plus the associated GND points
Control Lines labeled:
  • XA, XB
Analog Output Points labeled:
  • DAC1 out, DAC0 out, DAC1G, DAC0G

Contents copyright © 1998, Microstar Laboratories, Inc. All rights reserved. No part of this publication may be photocopied, reproduced, or translated to another language without prior written consent of Microstar Laboratories, Inc. Microstar Laboratories assumes no responsibility for damages due to errors or omissions. Microstar Laboratories, iDSC, iDSC 816, Data Acquisition Processor, DAP, and DAPL are trademarks of Microstar Laboratories, Inc. Other brand names and product names are trademarks of their respective holders.

 

View other Technical Notes.